● Norm: IEC61009-1, IEC62026
● Schutz: Serien- und Parallellichtbogenerkennung, kombinierte Lichtbogenerkennung, Kurzschluss-, Überlast- und Erdschlusserkennung
● FI-Schutzschalter-Typ: AC, A
● Nennstrom: 6~40A
● Nennspannung: 230/240~
● Polzahl: 1P+N (mit geschaltetem Neutralleiter)
● Bemessungs-Restbetriebsstrom (IAn): 10, 30, 100, 300 mA
● Bemessungs-Kurzschlussausschaltvermögen: 6kA
● Auslösekennlinie: B, C
● Umgebungstemperatur: -25...+40 ºC
● Anschluss: Von unten
● Zertifikate: CE, CB
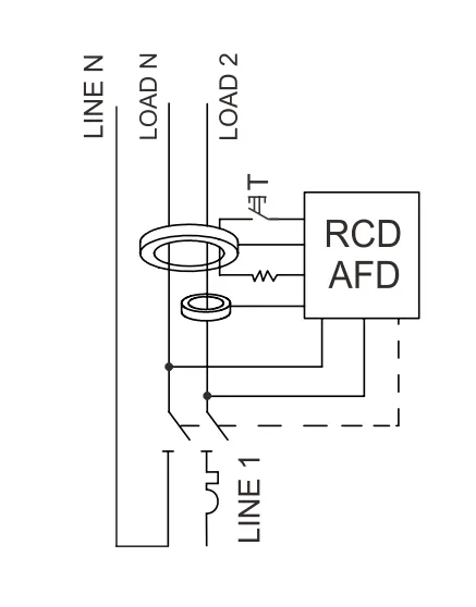
In einphasigen Wechselstromkreisen mit nicht mehr als 230 V, dazu gehören Ringleitungen, Radialleitungen usw. Wo verwendet, muss der AFDD am Ursprung des zu schützenden Stromkreises platziert werden.
EKL17-40AFD-Geräte sind Einzelmodulgeräte, die in das vorhandene Sammelschienensystem der bestehenden Anordnung passen. Das Gerät bietet Schutz gegen Überstrom, Kurzschluss, Erdschluss und Lichtbogenfehler in einem Gerät und ist in den Kurvenvarianten B und C erhältlich. Es kann RCBO in vorhandenen Verbrauchereinheiten direkt ersetzen.
| Überstrom | Kurzschluss | Erdschluss | Serie Arc Fult | Parallelbogen Fult | |
| Sicherungsautomat | √ | √ | × | × | × |
| FI-Schutzschalter | × | × | √ | × | × |
| FI-Schutzschalter | √ | √ | √ | × | × |
| AFDD | × | × | × | √ | √ |
| AFDD integriert mit RCBO | √ | √ | √ | √ | √ |
Grenzwerte der Abschaltzeit für Ue 230V AFDD
|
Prüflichtbogenstrom (Effektivwerte)
|
Maximale Bremszeit
|
|
2,5 A
|
1S
|
|
5A
|
0,5 Sek.
|
|
10A
|
0,25 Sek.
|
|
16A
|
0,15 Sek.
|
|
32A
|
0,12 Sek.
|
|
63A
|
0,12 Sek.
|
Notiz:
1. Der Testlichtbogenstrom ist der zu erwartende Strom, bevor im Teststromkreis eine Zündung erfolgt.
2. Niedrige Lichtbogenströme können aufgrund von Isolationsfehlern zwischen Phase und Erde oder durch Reihenlichtbögen entstehen.
|
Standard
|
IEC/EN61009-1, IEC62026
|
|
Schutz
|
Lichtbogenschutz, Überlastschutz,
Kurzschlussschutz, Erdschlussschutz
|
|
Art der Reise
|
Erdschluss: Elektronisch
|
|
Überlast und Kurzschluss: Thermomagnetisch
|
|
|
Schutzart (elektrischer Leckstrom)
|
A
|
|
Anzahl der Pole
|
1P+N (N-Pol kann angeschlossen und getrennt werden)
|
|
Nennströme (In)
|
6, 10, 16, 20, 25, 32, 40A
|
|
Nennempfindlichkeitsströme IΔn
|
10, 30, 100, 300 mA
|
|
Fehlerstrom-Ausschaltzeit unter IΔn
|
≤ 0,1 s
|
|
Resteinschalt- und Ausschaltvermögen (IΔm)
|
500A
|
|
Bemessungsspannung (Ue)
|
230/240 V
|
|
Nennfrequenz
|
50/60 Hz
|
|
Bemessungsschaltvermögen
|
6.000A
|
|
Energiebegrenzungsklasse
|
3
|
|
Bemessungsstoßspannung bei Standardspannung (1,5/50) Uimp
|
4.000 V
|
|
Dielektrische Prüfspannung bei Ind.Freq. für 1 min
|
2 kV
|
|
Thermische Auslösecharakteristik
|
(1,13-1,45) ×In
|
|
Magnetische Auslösecharakteristik
|
B: (3-5) × In, C: (5-10) × In
|
|
Elektrische Lebensdauer
|
4.000 Zyklen
|
|
Mechanische Lebensdauer
|
10.000 Zyklen
|
|
Kontaktstellungsanzeige
|
Ja
|
|
Schutzart
|
IP20
|
|
Umgebungstemperatur
|
-25℃ bis +40℃, Max. 95 % Luftfeuchtigkeit
|
|
Anschlussart der Klemme
|
Kabel-/Stiftsammelschiene
|
|
Max. Klemmengröße für Kabel
|
L(Eingang): 25mm², N/L(Ausgang): 16mm2
|
|
Max. Anziehdrehmoment
|
L (Eingang): 2,5 Nm, N/L (Ausgang): 2 Nm
|
|
Installation
|
Montage auf 35mm DIN-Schiene
|
|
Verbindung
|
Von unten
|


| AFDD/RCBO EK17-40AFD (B-Kurve) | ||||
| Nennstrom (A) | Empfindlichkeit | |||
| 10mA | 30mA | 100mA | 300mA | |
| 6A | EKL17-40AFD-1NB0610A | EKL17-40AFD-1NB0630A | EKL17-40AFD-1NB06100A | EKL17-40AFD-1NB06300A |
| 10A | EKL17-40AFD-1NB1010A | EKL17-40AFD-1NB1030A | EKL17-40AFD-1NB10100A | EKL17-40AFD-1NB10300A |
| 16A | EKL17-40AFD-1NB1610A | EKL17-40AFD-1NB1630A | EKL17-40AFD-1NB16100A | EKL17-40AFD-1NB16300A |
| 20A | EKL17-40AFD-1NB2010A | EKL17-40AFD-1NB2030A | EKL17-40AFD-1NB20100A | EKL17-40AFD-1NB20300A |
| 25A | EKL17-40AFD-1NB2510A | EKL17-40AFD-1NB2530A | EKL17-40AFD-1NB25100A | EKL17-40AFD-1NB25300A |
| 32A | EKL17-40AFD-1NB3210A | EKL17-40AFD-1NB3230A | EKL17-40AFD-1NB32100A | EKL17-40AFD-1NB32300A |
| 40A | EKL17-40AFD-1NB4010A | EKL17-40AFD-1NB4030A | EKL17-40AFD-1NB40100A | EKL17-40AFD-1NB40300A |
| AFDD/RCBO EK17-40AFD (C-Kurve) | ||||
| 6A | EKL17-40AFD-1NC0610A | EKL17-40AFD-1NC0630A | EKL17-40AFD-1NC06100A | EKL17-40AFD-1NC06300A |
| 10A | EKL17-40AFD-1NC1010A | EKL17-40AFD-1NC1030A | EKL17-40AFD-1NC10100A | EKL17-40AFD-1NC10300A |
| 16A | EKL17-40AFD-1NC1610A | EKL17-40AFD-1NC1630A | EKL17-40AFD-1NC16100A | EKL17-40AFD-1NC16300A |
| 20A | EKL17-40AFD-1NC2010A | EKL17-40AFD-1NC2030A | EKL17-40AFD-1NC20100A | EKL17-40AFD-1NC20300A |
| 25A | EKL17-40AFD-1NC2510A | EKL17-40AFD-1NC2530A | EKL17-40AFD-1NC25100A | EKL17-40AFD-1NC25300A |
| 32A | EKL17-40AFD-1NC3210A | EKL17-40AFD-1NC3230A | EKL17-40AFD-1NC32100A | EKL17-40AFD-1NC32300A |
| 40A | EKL17-40AFD-1NC4010A | EKL17-40AFD-1NC4030A | EKL17-40AFD-1NC40100A | EKL17-40AFD-1NC40300A |
