● Norm: IEC/EN 61643-11
● Schützt das System vor Spannungsspitzen oder vorübergehenden Überspannungen.
● Stoßspannungsfestigkeit: In=20kA (8/20 µs), Imax=40kA (8/20µs)
● IEC/EN Kategorie: Klasse II / Typ 2
● Spannungsschutzstufe: 1,5 KV
● Max. Dauerbetriebsspannung: 275V
● Gehäuse: Steckbares Design
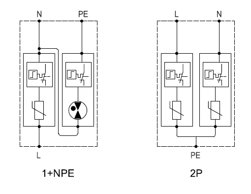
EKU6-T2-40S ist eine Gruppe von Überspannungsschutzgeräten des Typs 2, Klasse C mit modularem Design mit Steckmodulen. Diese Geräte sind zum Schutz vor transienten Überspannungen konzipiert, die durch schnelle Schaltvorgänge oder indirekte Blitzeinschläge (Resteffekte) verursacht werden. Es handelt sich um mehrpolige, kompakte Überspannungsschutzgeräte, die aufgrund ihrer schmalen Bauweise eine einfache Installation und Nachrüstung ermöglichen und nur minimalen Platzbedarf (Breite 18 mm) erfordern.
| Anzahl der Pole | 2P | 1P+NPE |
| Netzwerksysteme | TN-S | TT, TN-S |
| Schutzmodus | L-PE, N-PE | LN, N-PE |
| Schutzelemente | Hochenergie-MOV | Hochenergie-MOV und GDT |
| Max. Dauerbetriebswechselspannung (LN) | Uc | 275 V | |
| Max. Dauerbetriebswechselspannung (N-PE) | Uc | 255 V | |
| Nennentladestrom (8/20µs) (LN)/(N-PE) | In | 20 KA | |
| Maximaler Entladestrom (8/20µs) (LN)/(N-PE) | Imax | 40 KA | |
| Schutzpegel (LN)/(N-PE) | Hoch | ≤ 1,5 kV | |
| Schutzpegel 5kA | HOCH | ≤ 1,0 kV | |
| Reaktionszeit (LN)/(N-PE) | tA | ≤25 ns/≤100 ns | |
| Betriebstemperaturbereich | Di | -40℃ bis +80℃ | |
| Max. Vorsicherung | 125 A gL/gG | ||
| Fehleranzeige | Rot | ||
| Querschnittsfläche (Min.)/(Max.) | 4mm²/10mm²(L/N),16mm²(PE) | ||
| Montage | 35 mm DIN-Schiene, EN 60715 | ||
| Beiliegendes Material | Thermoplast UL94-V0 | ||
| Schutzart | IP20 | ||


| Stöcke | Max. Dauerbetriebsspannung AC |
| 275V | |
| 1+NPE | EKU6-T2-40S-1PN275 |
| 2P | EKU6-T2-40S-2P275 |
| Mit Fernsignalisierung | |
| 1+NPE | EKU6-T2-40S-1PN275S |
| 2P | EKU6-T2-40S-2P275S |
